系统特色功能之录音
2020-08-21
随着服务观念深入人心,录音功能已经成为呼叫中心应用中不可或缺的重要组成部分。众多企业建立呼叫中心,一般都要求开通其录音功能,这是因为:
第一:录音有利于呼叫中心的班长坐席、主管或者更高的相关领域的领导级别的人了解坐席人员工作的技能、方式等,后期通过这些录音可以提高其通话品质水平,进而提升客户服务。
第二:录音能够作为后期相关人员用于培训新员工的资料。
第三:录音能够作为客服人员绩效考核的“证据”,通过制定相关奖惩制度,提高客服服务水平,达到最终的提高员工整体工作效率的目标。
通过以上分析,录音功能可以说是企业建立呼叫中心的一个必不可少的功能,所以很多企业都选择开通,因为通过录音,企业可以做出很多有价值的相关数据的分析。下面介绍一下OKCC呼叫中心系统特殊功能之录音。
1.1 全程录音和接通录音:全程录音就是回铃声也录入,接通录音是不录入回铃音。系统为了节约性能,方便特殊场景应用,可以根据需求设置是否录回铃音。具体设置见下图:运营界面--业务--客户参数:勾选目标客户的“回铃时开始录音”。目前默认是不勾选“回铃时开始录音”,表示坐席接通后开始录音,相对节约性能。
1.2 支持多种录音格式:系统录音支持四种录音格式,分别是:MP3单声道、MP3双声道、WAV单声道、WAV双声道。相比mp3格式的高压缩率,wav格式提供客户更好的音质。 系统默认采用的是MP3单声道格式录音。具体设置也是在客户参数页设置,具体见下图:运营界面--业务--客户参数:在目标客户的“录音文件格式”下选择。这里不再详述。
1.3 支持录音的在线试听,在线下载,批量下载,打包下载,录音计费,录音质检等。
系统下载的通话录音文件统一采用zip压缩格式归档,解压缩之后,录音文件统一为mp3编码格式。系统导出的是csv格式,里面包含录音的下载地址,可以直接在浏览器上输入地址进行播放与下载。系统录音除了直接在本系统上展示外,还支持接口试听下载,方便对接其他系统,这里不详说。
2.1 各终端兼容性
不论坐席端对接的是软电话还是语音网关,还是IP话机,OK-CC系统都可以对接,大多数终端支持的编解码系统都能支持,同时系统还支持编解码的转码。
2.2 多处支持录音试听、导出、下载
系统可多处录音播放、导出,【通话清单】页面和【录音清单】均支持录音的播放导出。其中坐席界面的【通话清单】和【录音清单】支持下载; 企业界面的【录音清单】、【标记历史】、【标记结果】页支持录音下载。当客户下载录音数目超过100条,系统将会把所有录音文件生成一个压缩包,客户可以在web登录页面“查询-->下载任务”中进行下载。
2.3 多样查询方便录音下载导出
录音查询可以按时间段查询,也可按照主被叫号查询,可以按任务查询,也可以按接通时间查询,具体见下图。查询后配合下载批量导出,可以实现单条记录导出下载,也可实现批量导出下载。如:录音下载支持选定下载、搜索结果下载,下载之后以zip压缩格式归档起来,若想试听请采用解压缩工具将文件进行解压处理。导出也类似,这里不详介绍。
2.4 录音可以支持计费
在客户所选的资费套餐中可以修改录音业务的计费规则,系统默认录音业务的计费规则计费费率为0,所以录音清单页面显示计费为0。将录音业务的计费费率修改为其他(如0.01),再呼叫,查看到录音清单上显示如下图:
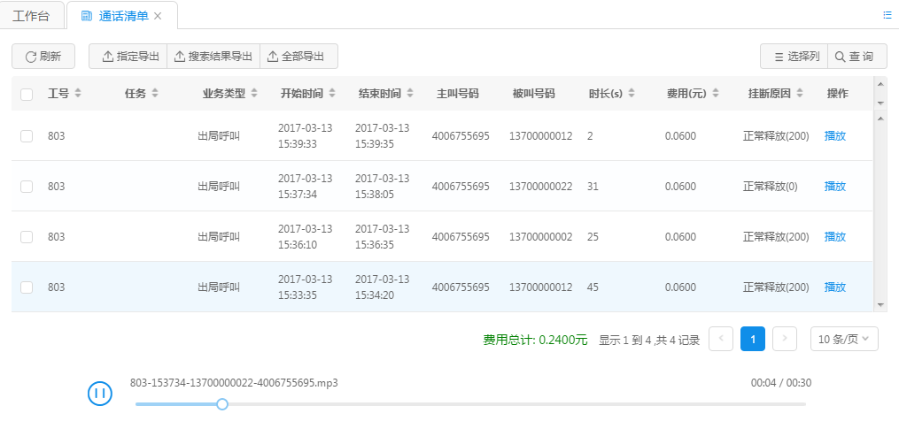
3.1 录音试听
如下图所示,打开录音清单页面,直接点击“播放”按钮,通话录音即可播放。录音播放时,页面底端会展示录音的播放进度条,而且可以对播放进度进行控制。
3.2 录音下载
OK-CC的坐席录音查询页面,录音下载支持选定下载、搜索结果下载。在当前页选中几条通话录音,点击“指定下载”即可;点击“当前页下载”即可下载所有当前页面展示的通话录音。OK-CC系统下载的通话录音文件统一采用zip压缩格式归档,解压缩之后,录音文件统一为mp3编码格式。
单条录音下载,先找到对应的录音记录,点击“播放”按钮右侧的“下载”按钮,即可下载单条录音。
3.3 录音查询
OK-CC系统对于坐席班长,支持的录音查询功能主要包括按坐席、任务名称、开始结束时间、主被叫号码、时长范围以及多条件联合查询,其中按照工号、主被叫查询支持模糊查询,如下图所示。
设置好查询条件,点击“确定”按钮即可查询出符合条件的录音数据,如下图所示。
2.当试听录音时听到声音不清晰,可以调整软电话的编解码,并开启转码功能;也可以调整终端的编解码,让两端编解码保持一致,以免声音不清晰,转码过程中损失音质。
3.系统支持一年录音全保存。当客户录音达到一定数量时,占用内存太大,还是建议定期清理和数据迁移,以免影响后期系统性能。
4.查看录音清单的计费,在业务参数中不要勾选“消费隐藏”。(业务->客户参数)
第一:录音有利于呼叫中心的班长坐席、主管或者更高的相关领域的领导级别的人了解坐席人员工作的技能、方式等,后期通过这些录音可以提高其通话品质水平,进而提升客户服务。
第二:录音能够作为后期相关人员用于培训新员工的资料。
第三:录音能够作为客服人员绩效考核的“证据”,通过制定相关奖惩制度,提高客服服务水平,达到最终的提高员工整体工作效率的目标。
通过以上分析,录音功能可以说是企业建立呼叫中心的一个必不可少的功能,所以很多企业都选择开通,因为通过录音,企业可以做出很多有价值的相关数据的分析。下面介绍一下OKCC呼叫中心系统特殊功能之录音。
1 系统录音特色
OK-CC呼叫中心系统提供全程录音和接通录音,为每个外呼业务建有独立的目录存放语音,提供录音回访、下载、监听和导出功能。除了这些基本功能实现外,OK-CC系统录音特色具体表现如下:1.1 全程录音和接通录音:全程录音就是回铃声也录入,接通录音是不录入回铃音。系统为了节约性能,方便特殊场景应用,可以根据需求设置是否录回铃音。具体设置见下图:运营界面--业务--客户参数:勾选目标客户的“回铃时开始录音”。目前默认是不勾选“回铃时开始录音”,表示坐席接通后开始录音,相对节约性能。
1.2 支持多种录音格式:系统录音支持四种录音格式,分别是:MP3单声道、MP3双声道、WAV单声道、WAV双声道。相比mp3格式的高压缩率,wav格式提供客户更好的音质。 系统默认采用的是MP3单声道格式录音。具体设置也是在客户参数页设置,具体见下图:运营界面--业务--客户参数:在目标客户的“录音文件格式”下选择。这里不再详述。
1.3 支持录音的在线试听,在线下载,批量下载,打包下载,录音计费,录音质检等。
系统下载的通话录音文件统一采用zip压缩格式归档,解压缩之后,录音文件统一为mp3编码格式。系统导出的是csv格式,里面包含录音的下载地址,可以直接在浏览器上输入地址进行播放与下载。系统录音除了直接在本系统上展示外,还支持接口试听下载,方便对接其他系统,这里不详说。
2 系统录音优势
OK-CC呼叫中心系统录音除了以上特色外,相对于其他呼叫系统,还具有如下优势:2.1 各终端兼容性
不论坐席端对接的是软电话还是语音网关,还是IP话机,OK-CC系统都可以对接,大多数终端支持的编解码系统都能支持,同时系统还支持编解码的转码。
2.2 多处支持录音试听、导出、下载
系统可多处录音播放、导出,【通话清单】页面和【录音清单】均支持录音的播放导出。其中坐席界面的【通话清单】和【录音清单】支持下载; 企业界面的【录音清单】、【标记历史】、【标记结果】页支持录音下载。当客户下载录音数目超过100条,系统将会把所有录音文件生成一个压缩包,客户可以在web登录页面“查询-->下载任务”中进行下载。
2.3 多样查询方便录音下载导出
录音查询可以按时间段查询,也可按照主被叫号查询,可以按任务查询,也可以按接通时间查询,具体见下图。查询后配合下载批量导出,可以实现单条记录导出下载,也可实现批量导出下载。如:录音下载支持选定下载、搜索结果下载,下载之后以zip压缩格式归档起来,若想试听请采用解压缩工具将文件进行解压处理。导出也类似,这里不详介绍。
2.4 录音可以支持计费
在客户所选的资费套餐中可以修改录音业务的计费规则,系统默认录音业务的计费规则计费费率为0,所以录音清单页面显示计费为0。将录音业务的计费费率修改为其他(如0.01),再呼叫,查看到录音清单上显示如下图:
3 系统录音使用
OK-CC各种业务接通了都会自动录音。客户运营界面企业界面坐席界面都可试听录音,这点上面已描述,下面以坐席界面的操作来举例:3.1 录音试听
如下图所示,打开录音清单页面,直接点击“播放”按钮,通话录音即可播放。录音播放时,页面底端会展示录音的播放进度条,而且可以对播放进度进行控制。
3.2 录音下载
OK-CC的坐席录音查询页面,录音下载支持选定下载、搜索结果下载。在当前页选中几条通话录音,点击“指定下载”即可;点击“当前页下载”即可下载所有当前页面展示的通话录音。OK-CC系统下载的通话录音文件统一采用zip压缩格式归档,解压缩之后,录音文件统一为mp3编码格式。
单条录音下载,先找到对应的录音记录,点击“播放”按钮右侧的“下载”按钮,即可下载单条录音。
3.3 录音查询
OK-CC系统对于坐席班长,支持的录音查询功能主要包括按坐席、任务名称、开始结束时间、主被叫号码、时长范围以及多条件联合查询,其中按照工号、主被叫查询支持模糊查询,如下图所示。
设置好查询条件,点击“确定”按钮即可查询出符合条件的录音数据,如下图所示。
4 录音使用的注意事项
1.当客户下载量较多时,建议在非正常上班时间进行录音的批量下载,打包录音消耗大量的系统资料,对于正常开展业务将会有影响;可以在运营界面的业务参数中勾选“禁止工作时间下载录音文件”(设置--参数)2.当试听录音时听到声音不清晰,可以调整软电话的编解码,并开启转码功能;也可以调整终端的编解码,让两端编解码保持一致,以免声音不清晰,转码过程中损失音质。
3.系统支持一年录音全保存。当客户录音达到一定数量时,占用内存太大,还是建议定期清理和数据迁移,以免影响后期系统性能。
4.查看录音清单的计费,在业务参数中不要勾选“消费隐藏”。(业务->客户参数)
- 上一篇:云电销系统的魅力
- 下一篇:传统质检与智能质检之差别